作者:苏年
又一半导体赛道龙头企业冲击IPO了。
2024年12月30日,上交所官网显示,强一半导体(苏州)股份有限公司(下称“强一股份”)在科创板的IPO审核状态已经变更为“已受理”。

强一股份为大陆第一家具备MEMS探针卡研发能力的公司,众多芯片厂商、手机厂商、电信厂商都是其主要的客户。
强一半导体的IPO辅导工作早在2022年10月就开始了,中信建投与强一股份共进行了八期辅导工作,如今终于筹划IPO了。
1.大陆第一家
成立于2015年8月的强一股份,坐落于苏州工业园区,是专注于服务半导体设计与制造的高新技术企业,是聚焦晶圆测试核心硬件探针卡(probe card)的研发、设计、生产与销售为一体的企业。

图:苏州工业园区
强一股份目前具备探针卡及核心部件的专业设计能力,也是国内少有的可以拥有自主MEMS探针制造技术并能够批量生产、销售MEMS探针卡的厂商,这一技术能力打破了外企对于探针卡领域的垄断。
探针卡是一种应用于半导体生产过程晶圆测试阶段的“消耗型”硬件,也是半导体行业的基础支撑元件材料。有一个词语形容,那就是它犹如“芯片听诊器”,是帮助工程师“听到”芯片的“心跳”。如今电子产业、人工智能产业爆发,对于探针卡的需求也不断提升。

图:3D MEMS探针卡
多年来,探针卡领域一直都是外企主导。TechInsights 的数据显示,探针卡行业前十大厂商均为境外厂商,这些厂商占据了全球80%的市场份额。根据Yole的数据,强一股份2023年跻身探针卡行业第九位,也是国内在探针卡领域的龙头厂商,在业务上与很多外企进行竞争。
如今强一股份也是大陆第一家拥有自主MEMS 探针卡研发能力、第一家拥有百级洁净度探针卡生产用FAB车间的企业。目前可以生产的探针密度已达数万针,能够完成精确到45um间距测量,精度达到约7um。

强一股份合作的单体客户超过370家,覆盖从芯片设计厂商到晶圆代工厂商以及封装测试厂商,包括B公司、日月光、盛合晶微、渠梁电子、紫光集团、中兴微、复旦微电、兆易创新、晶晨股份、韦尔股份、地平线、摩尔线程、清微智能、智芯微、华虹集团、矽佳半导体、京隆科技、利扬芯片、伟测科技。
2.拿下多轮融资 VC/PE与华为都投了
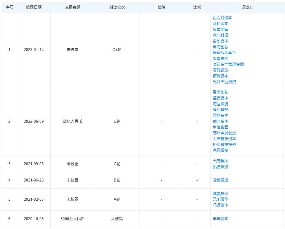
成立以来,强一股份已经拿下多轮融资。
根据天眼查数据,2020年,强一股份拿下由丰年资本领投的5000万元天使轮融资。然后开启了VC/PE与产业资本疯狂入局的序幕。
2021年2月,强一股份完成A轮融资,融资金额未透露,此次3家机构入局,分别是鹏晨投资、元禾璞华与冯源资本。

2021年6月,强一股份再次完成B轮融资,此次是华为旗下的哈勃投资入局,依然未透露融资金额,但是公司的注册资本由6594.3万元增至7316.5万元。
9月份,强一股份再次拿下C轮融资,此次由天府集团与凯腾投资投资。1年内拿下A、B、C三轮融资,融资速度之快,也是业内罕见。
2022年6月,强一股份完成D轮数亿元融资,本轮融资由君海创芯、中信建投、基石资本、君桐资本、国发创投、融沛资本、海达投资、泰达科投、松川科技投资、海风投资、中信集团投资。而此次融资之后,企业估值从天使轮后已经上涨了5倍。
2023年1月,强一股份再次拿下D+轮融资,此次也有数十家机构投资,包括正心谷、联和资本、复星、光谷产投、诺华资本、君海创芯、湖北科投等。
目前,强一股份的实控人是周明,直接持有27.93%的股份,间接持有13.83%的股份。并且周明还与股东徐剑、刘明星、王强分签订《一致行动协议》,目前周明及一致行动人合计持有强一股份50. 05%的股份。

而强一股份的第二大股东依然是在天使轮就入局的丰年资本,第三大股东是华为旗下的哈勃投资。
3.业绩突飞猛进 但是依然有经营风险
招股书显示,2021年至2024年6月30日,强一股份的营收分别是1.01亿元、2.54亿元、3.54亿元以及1.98亿元,净利润分别是-1335.84万元、1562.24万元、1865.77万元以及4085万元,扣非后净利分别为-377万元、1384万元、1439万元、3660.8万元,年复合增长率达到了79.69%,也是业内比较少见的。

目前强一股份拟募资15亿元,其中12亿元用于南通探针卡研发及生产项目,3亿元用于苏州总部及研发中心建设项目。

强一股份营收来源却很单一,主要是探针卡销售、维修、晶圆测试版销售,其中探针卡销售营收占比都处于95%左右。

全球探针卡市场规模也并不是很大,TechInsights数据显示,2023年,全球及中国半导体探针卡行业市场规模分别为21.09亿美元、2.11亿美元。
强一股份的前五大客户销售占比集中度高,在报告期内分别是49.11%、62.28%、75.91%和72.58%。尤其是对B公司的依赖较重,销售收入占比分别是25.14%、50.29%、67.47%和70.79%。

强一股份内部问题也不小,此前实控人周明曾拆借公司资金。
华东交通大学机械制造工艺与设备专业毕业的周明,在半导体行业有20多年工作经历,从2015年开始一直担任公司的执行董事、董事长。
在IPO之前,周明曾经拆借资金,这笔资金2020年已经归还,但是截止到2021年初还有未归还的利息,周明于2021年及2022年将前述利息归还完毕。
预计2025年全球探针卡市场也仅有27.41亿美元,国内市场规模达到32.83亿元。强一股份在这样小众市场中掘金,还要有自己的核心竞争力才行。